蒸汽-空氣自由鍛錘是指既可以用蒸汽(壓力為700?900kPa) 作為動力,也可以用壓縮空氣(壓力為600?800kPa)作為動力的 一種錘。所用蒸汽由熱電站或動力站供給;壓縮空氣一般由壓縮空 氣站供給。
1、蒸汽-空氣自由鍛錘的工作原理
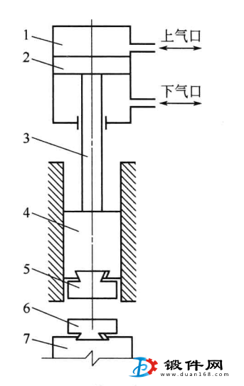
當蒸汽(或壓縮空氣)從下氣口進入汽缸1的活塞下面時,在氣體壓力作用下,將活塞2、錘桿3、錘頭4和上砧塊5整個 落下部分升起,而汽缸上部(活塞上 部)的氣體經上氣口排出。通過操縱 系統的變換進、排氣方向,氣體進入 汽缸上部時,落下部分在氣體壓力和 自重的作用下快速落下,進行打擊下砧塊6上的坯料。同時汽缸下部的氣體經下氣口排岀。如此反復,實現對鋼坯的鍛造。
2、蒸汽-空氣自由鍛錘的結構
蒸汽-空氣自由鍛錘可分為單臂式、 雙柱式和橋式三種結構,具體如下。
①單臂式單臂式機架為一個整 體立柱而位于錘頭的一側,可以在三面 操作,特點是空間大,操作方便且結構 簡單,價格便宜。但是,整個機架剛性差,錘頭無導軌,
1000kg錘以下。
②雙柱式支承著汽缸等零部件,稱為拱式蒸汽-空氣兩用自由鍛錘。該錘結 構緊湊,剛性好,錘頭在兩側立柱的導軌中運動,打擊平穩。但是,操作只能位于前后兩面,空間小,給操作者帶來一定困難。
③橋式橋式立柱位于左右兩側,頂部有一個橫梁組成門形 機架,機架上部安裝汽缸等零件。操作空間大,特別適應大尺寸的 鍛件。但錘的輪廓較大,占地面積多,錘頭導向部分剛性差,連接螺釘易斷,故這種錘已很少使用。

3、蒸汽-空氣自由鍛錘使用規則
其班前準備工作主要如下。
①檢查地角、導軌、調整楔和汽缸平板等螺釘有無松動、裂紋以及其他特殊情況。
②檢查上、下砧墊、砧塊與楔固定結合情況。
③打開氣閥排除冷凝水。
④檢查導軌、操作手柄系統等潤滑是否良好,按規定添加潤滑油。
⑤使用前將錘頭、砧塊和錘桿預熱至100?150笆。
4、鍛造生產中注意事項主要如下。
①發現異常噪聲或漏氣,立即停錘檢修。
②禁止打冷鐵或較薄的低溫鍛件,盡量避免偏心鍛造和錘空擊。
③隨時清除下砧的氧化皮。




